iPhone thế hệ mới sẽ không còn nút Home?
Apple đã nộp bằng sáng chế mô tả việc tích hợp bộ cảm biến dấu vân tay trực tiếp bên trong màn hình. Điều này sẽ cho phép loại bỏ nút Home ở mặt trước của mô hình iPhone thế hệ sau này để có thể phóng to đáng kể màn hình của điện thoại.
Đây cũng chính là một trong những tính năng đang được chờ đợi trên iPhone 8, đó là nhận diện dấu vân tay bằng cách đặt ngón tay trực tiếp trên màn hình.

Một bản mô tả về mở dấu vân tay trên màn hình cảm ứng trong bằng sáng chế của Apple. (Ảnh: Internet)
Theo AppleInsider, công nghệ được mô tả trong bằng sáng chế được thừa hưởng từ việc mua lại công ty LuxVue năm 2014.
Nguyên tắc do công ty này phát triển sẽ cho phép thay thế nút Touch ID ở mặt trước. Vì vậy, nó sẽ giải phóng không gian giúp cho màn hình sẽ chiếm toàn bộ mặt trước của điện thoại thông minh.
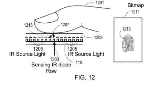
Để làm được điều này, các micro LED sẽ thay thế cho hệ thống điện dung của màn hình cảm ứng thông thường. Các diode hồng ngoại có khả năng phát và nhận được tích hợp vào bề mặt của màn hình, bên cạnh LED RGB thông thường.
Mạch diode hồng ngoại này có thể sử dụng cho nhiều tác vụ như cảm biến ánh sáng xung quanh, cảm biến khoảng cách. Nhưng đặc biệt à nó có thể phát hiện tính tự nhiên của dấu vân tay.
Để cải thiện tính bảo mật và độ phân giải hình ảnh của dấu vân tay được thu thập, một số phần của màn hình cũng có thể chứa nhiều các diode hồng ngoại hơn. Chẳng hạn như nửa phía dưới của màn hình, nhiều khả năng được sử dụng để đặt ngón tay cái của người dùng.
Đây không phải là lần đầu tiên một hệ thống như vậy được mô tả. Tháng 1 vừa qua, nhà phân tích Ming-Chi Kuo của KGI, hãng nghiên cứu luôn theo sát hoạt động của Apple, cũng đã đề cập đến một hệ thống tương tự sẽ được tích hợp trong mô hình iPhone tiếp theo./.
CTV Quế Ánh/VOV.VN

